Dialyzačné kreslo JFD 1 sa používa v zdravotných strediskách, ošetrovniach a ordináciách lekárov na vykonávanie dialýzy. Rám kresla je z oceľovej jokloviny upravený bielou farbou.
Chrbtová a nožná opierka sa nastavuje pomocou plynovej pružiny. Sedadlová časť je nastaviteľná pomocou plynových pružín s možnosťou polôh Trendelenburg a anti-Trendelenburg. Kreslo je výškovo nastaviteľné s ručným diaľkovým ovládačom. Je veľmi pohodlné pre vysoký komfort pacienta. Opierky na ruky sú horizontálne výškovo nastaviteľné.
Príplatkové možnosti:
• držiak na rolku do 70cm
• kolieska s brzdou
• bočná polica 30x40cm
• stojan na infúzie (4 vešiaky)
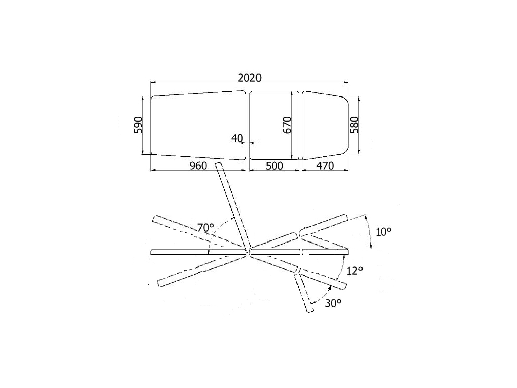
Technické parametre:
dĺžka : 202 cm
šírka : 67 cm
maximálne zaťaženie : 150 kg
váha : 100 kg
nastavenie uhla nožnej časti : 0 ° až 30 °
uhol sklonu Trendelenburg : 0 ° až 10 °
uhol päty Anti-Trendelenburg : od 0 ° do 12 °
nastavenie uhla opierky na ruky (horizontálne) : 180 °
nastavenie uhla operadla : 0 ° až 70 °
rozmery opierky na ruky : 40 x 15 cm
výška JFD 1 s gumenými nožičkami : od 61 cm do 86 cm
výška JFD 1 s kolieskami : od 67 cm do 92 cm
nastavenie uhla stupačky : 40 ° až 75 °
Doprava v rámci SR zdarma
Povrchový materiál:
Materiál na lekárske účely potiahnutý PVC so zvýšenou odolnosťou voči telesným tekutinám, olejom, alkoholu
a dezinfekčným prostriedkom obsahujúcim aktívny chlór. Materiál je možné použiť v zariadeniach určených pre deti.
* odolný voči vznieteniu (PN-EN 1021-1 materiál spomaľujúci horenie - cigaretový test).
* odolný proti roztrhnutiu (norma PN-EN ISO 4674-1).
* odolné voči oderu (normy PN-EN ISO 5470-2, PN-EN 12947-4).
Materiál testovaný na škodlivé látky (certifikát OEKO-TEX, STANDARD 100).
Bez obsahu: ftalátov - DEHP, BBP, DBP, DIBP, DINP, DIDP, DNOP.
Neobsahuje: zlúčeniny - AZO, PCP, PAH, PBDE, PBB.
Neobsahuje: škodlivé prvky podľa EN-71-3.
Neobsahuje: latex.